Lutomiersk – niepozorne miasteczko kilkanaście kilometrów od Łodzi. Wjeżdżając do miasta nie sposób nie zauważyć dominującej sylwetki klasztoru i kościoła. XVII- wieczne założenie, pierwotnie przeznaczone dla O.O. Reformatów po niezliczonych, dramatycznych wojnach, bitwach, pożarach, grabieżach następnych stuleci, trafia w roku 1926 za aprobatą mieszkańców miasta we władanie Towarzystwa Salezjańskiego. Wspólnota zakonna kontynuując dzieło swego założyciela, ks. Jana Bosko, pracuje z młodzieżą prowadząc specjalistyczne szkoły.
Dzisiaj Salezjanie mają w klasztorze dwie szkoły muzyczne o ogólnopolskiej renomie.
Moje spotkanie z Salezjanami miało miejsce kilka lat temu kiedy otrzymałem zlecenie zaprojektowania nowego internatu dla młodzieży, potem była praca przy remoncie dwóch spalonych kondygnacji klasztoru. Kiedy dwa miesiące temu dyrektor szkoły ks. dr Kazimierz Dąbrowski zwrócił się do mnie z propozycją opracowania dokumentacji naprawy pęknięć i nowej kolorystyki późnobarokowego kościoła towarzyszącego zabudowaniom klasztornym, z wahaniem przyjąłem zlecenie, ale po krótkiej rozmowie z ks. dyrektorem wiedziałem, że możemy przetrzeć zupełnie nową ścieżkę w technologii pracy w tego typu zabytkach.
Zlecenia przy obiektach zabytkowych mają swoją specyfikę. Oprócz badań konserwatorskich należy wykonać precyzyjną inwentaryzację architektoniczno- budowlaną. Z powodów oczywistych jest to zadanie zawsze niezwykle trudne. Do tej pory zatrudniało się kilku studentów, którzy biegali po rusztowaniach i dokonywali stosownych pomiarów, w międzyczasie przychodził geodeta i badał obiekt fotogrametrycznie. Potem najodważniejszy student brał wszystkie materiały zamykał się i mozolnie próbował wklepać do komputera wszystkie zdobyte wcześniej dane. Naturalnie było to zadanie z góry skazane na niepowodzenie i tego typu inwentaryzacje z założenia były obciążone dużymi błędami. Było więc i drogo i niedokładnie.
Ks. dyrektor Kazimierz Dąbrowski wykazał się ogromną otwartością i zaufaniem gdy zaproponowałem mu przeprowadzenie inwentaryzacji przy pomocy urządzenia, które w tego typu pracy w Polsce miało być użyte po raz pierwszy.
Dwie osoby pracowały z FlexiJet’em przez trzy dni, potem już tylko jedna przez tydzień dopracowywała w biurze całą dokumentację.
Efekt był zaskakujący – za mniejsze pieniądze zamawiający otrzymał niezwykle precyzyjny zapis wnętrza świątyni.A ja doskonały materiał do dalszej pracy projektowej.
Produktem ubocznym jest plik BIMx możliwy do odtworzenia na komputerach i na urządzeniach przenośnych, który pozwala na wirtualne zwiedzanie kościoła.
Taka szybkość była możliwa przede wszystkim dzięki zastosowaniu technologii modelowania informacji o budynku (BIM). Istotą tej technologii (a właściwie środowiska projektowania) jest trójwymiarowy model budynku, w którym każdy z elementów jest wirtualnym odzwierciedleniem swojego odpowiednika w rzeczywistym świecie. Wirtualna ściana, strop, słup, belka, okno, drzwi itd. jest nośnikiem praktycznie nieograniczonej ilości informacji dotyczących dowolnych cech projektowanego, a w przypadku inwentaryzacji istniejącego obiektu. Mogą być to dane nie tylko dotyczące geometrii, ale i materiału, właściwości fizycznych, ceny, a nawet osób odpowiedzialnych za pracę związaną z danym elementem. Do tej pory BIM był z powodzeniem stosowany w projektowaniu nowych budynków. Jeżeli chodzi o inwentaryzacje, były one wykonywane tradycyjnie z użyciem mniej lub bardziej zaawansowanych urządzeń pomiarowych. W wyniku pracy tymi najbardziej zaawansowanymi, skanerami 3D potrafiącymi kosztować nawet kilkaset tysięcy złotych, powstaje tzw. chmura punktów będąca dokładnym, punktowym odzwierciedleniem budowli. Taka chmura poddana pracochłonnej obróbce w efekcie pozwala na stworzenie bardzo precyzyjnych rysunków 2D, modeli siatkowych bądź bryłowych, lecz bardzo trudne jest wygenerowanie na jej podstawie danych BIM.
W jaki zatem sposób model BIM powstaje w trakcie pomiarów?
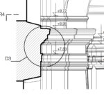
Sercem rozwiązania jest umieszczona na statywie głowica obrotowa składająca się z dwóch serwomechanizmów oraz dalmierz laserowy. Tyle jeśli chodzi o sprzęt. Oprogramowanie stanowi popularny wśród architektów ArchiCAD wraz ze specjalnym dodatkiem pozwalającym interpretować dane pochodzące z urządzenia. FlexiJet połączony jest przez Bluetooth z laptopem, dzięki czemu odczyty są bezprzewodowo przesyłane do programu. Praca odbywa się w sposób zbliżony do normalnego modelowania w środowiska ArchiCADa, z tą różnicą, że współrzędne elementów nie są definiowane za pomocą myszy, lecz poprzez pomiary „flexim” (jak pieszczotliwie nazywa go mój współpracownik). Głowicą porusza się zazwyczaj ręcznie, jednak w przypadku pomiarów wymagających dużej dokładności, możliwe jest jej ustawianie za pomocą gamepada (urządzenia sterującego wykorzystywanego w grach video). By określić położenie prostej ściany wystarczy zmierzyć jej wysokość (jeden pomiar) oraz przebieg (dwa pomiary). Prostokątne okno to jeden pomiar dla określenia wpuszczenia okna w ścianę oraz dwa po przekątnej dla zdefiniowania wymiarów. Oczywiście w kościele w Lutomiersku żadne z okien nie było prostokątne, lecz dla zmierzenia wysokości łuku nadproża wystarczy jeden dodatkowy punkt. Zaskakująco łatwe było wymodelowanie sklepień. Pomogło w tym służące między innymi takim zastosowaniem narzędzie ArchiCADa o nazwie Powłoka. Po zmierzeniu kształtu kolebek i lunet wszystkie przecięcia zostały znalezione automatycznie. Najbardziej czasochłonne okazały się gzymsy, jednak nawet te znajdujące się kilkanaście metrów ponad posadzką nie przysporzyły specjalnych trudności. Automatyczny pomiar szeregu punktów o zdefiniowanym interwale (w tym przypadku wystarczyło 10 mm) pozwolił na precyzyjne odwzorowanie wszystkich profili.
Pomiary prowadzone były z kilku punktów a system budował jeden model niezależnie od położenia FlexiJeta. Co istotne, urządzenie posiada czujniki położenia, dzięki czemu jego poziomowanie odbywa się automatycznie. Do określenia jego nowej pozycji (względem poprzedniej) wystarczą zatem dwa punkty kontrolne. W ten sposób w komputerze zostają precyzyjnie odzwierciedlone relacje przestrzenne poszczególnych elementów inwentaryzowanego obiektu.
W trakcie naszych pomiarów często do kościoła przybywali uczniowie wraz ze swoimi mistrzami, by ćwiczyć na mieszczących się tam wspaniałych organach. Taka wizyta poprzedzona była zawsze pytaniem, czy „hałas” nie będzie przeszkadzał w naszych pracach. Okazało się, iż istotnie przy niskich tonach FlexiJet miewał problem z automatycznym poziomowaniem. Nam natomiast majestatyczna muzyka przysparzała doznań prawdziwie metafizycznych. Zagłębianie się w struktury barokowych gzymsów i sklepień przy takich dźwiękach pozostanie w mej pamięci na długo.
Zakładając pół roku wcześniej firmę BIM POINT nastawiony byłem głównie na pomiary możliwie dużej skali obiektów, najchętniej poprzemysłowych. FlexiJet sprawdza się w takich sytuacjach doskonale i wielokrotnie przyspiesza proces inwentaryzacji. Prócz tego, atutem rozwiązania jest fakt, iż w wyniku pomiarów powstaje parametryczny model BIM (jak dotąd to jedyne rozwiązanie, które pozwala na tworzenie takiego modelu w momencie pomiarów). Wnętrze barokowego kościoła to już całkiem inna historia, a w dodatku finalna dokumentacja miała mieć postać wyłącznie rysunków dwuwymiarowych. Trud mozolnego budowania modelu przestrzennego wydawać by się mógł zatem zbyteczny. Jak się miało jednak okazać pomiary przebiegły gładko, a powstały model pozwolił na stworzenie bogatej i spójnej dokumentacji o doskonałej dokładności.
arch. Jurek Rusin – BIM POINT
arch. Wojciech Wycichowski – Tu i Tam
Artykuł ukazał się na łamach czasopisma Archivolta nr.2(58)/2013.












